
WDW-100JE微機控制腳手架扣件試驗機
本產品為濟南時代試驗機研發生產的WDW-100JE微機控制腳手架扣件試驗機,如您有需求或任何想要咨詢的內容,歡迎您隨時致電我司,我們將有專業的技術客服人員為您竭誠服務。垂詢熱線:0531-85991949。以下是WDW-100JE微機控制腳手架扣件試驗機的詳細內容。
主要用途及適用范圍
本公司生產的WDW-100JE微機控制腳手架扣件試驗機,主要適用于建筑工程中,對外徑為 Φ48.3mm的鋼管腳手架用直角扣件、旋轉扣件、對接扣件及底座進行抗滑、抗破壞、扭轉剛度、抗拉、抗壓的所有力學性能的檢測。精密的自動控制和數據采集系統,實現了數據采集和控制過程的全數字化調整。可完成最大承載拉力、抗拉強度、伸長變形、延伸率等技術指標的檢測。以上檢測參數在試驗結束后,由計算機根據試驗開始時設置的試驗參數條件自動計算,同時顯示相應的試驗結果,各檢測參數在試驗結束后既可查詢顯示,也可連接打印機進行打印輸出。
產品性能特點
◆以Windows為操作平臺的基于數據庫技術的控制與數據處理軟件采用了虛擬儀器技術代替傳統的數碼管、示波器,實現了試驗力、試驗力峰值、橫梁位移、試樣變形及試驗曲線的屏幕顯示,所有的試驗操作均可以在計算機屏幕上以鼠標輸入的方式完成,具有良好的人機界面,操作方便;
插裝在PC機內的雙通道全數字程控放大器實現了真正意義上的物理調零、增益調整及試驗力測量的自動換檔、調零和標定,無任何模擬調節環節,控制電路高度集成化,完全取消了電位器等機械調整器件,結構簡單,性能可靠。
上述各項技術的綜合應用,保證了WDW-100JE微機控制腳手架扣件試驗機可以實現試驗力、試樣變形和橫梁位移等參量的閉環控制,可實現恒力、恒位移、恒應變、等速度載荷循環、等速度變形循環等試驗。
用戶可以使用PC機專家系統自主設置恒應力、恒應變、恒位移等控制模式,各種控制模式之間可以平滑切換。實現了符合GB、ISO、JIS、ASTM、DIN等多種標準的數據處理,特別是具有良好的擴展性,處理結果可以ASCII碼的形式進行磁盤存儲。為試驗數據的再分析、數據庫管理、網絡傳輸等后處理提供了方便。
由于WDW-100JE微機控制腳手架扣件試驗機實現了試驗過程的自動控制和試驗結果的信息化處理,可使操作人員方便、自主地設置試驗程控步驟。在進行拉伸試驗時,可以使試驗者清晰地觀察低碳鋼、鑄鐵等整個試驗過程。通過在不同曲線段的反復加載,由力—位移(變形)曲線,可以直觀的驗證虎克定律和觀察冷作硬化現象。對無明顯物理屈服現象的材料,可以選用滯后環法或逐步逼近法測定規定非比例延伸強度。在壓縮過程中,便于觀察低碳鋼壓縮屈服現象和強化現象,鑄鐵的壓縮破壞過程和斷口形狀。還可對力學材料的n值r值進行檢測。
本公司生產的本款WDW-100JE微機控制腳手架扣件試驗機結合國外先進控制技術、精美的外觀設計、高效率的傳動系統構成高性能主機,控制系統采用世界流行的高速PCI2.2標準并行總線設計,采用美國BB公司放大器,AD公司的高速模數轉換器及CPLD構成數據采集系統高精度負荷傳感器構成測量系統。軟件采用世界比較流行的C.NET高級語言編寫升級簡單快捷。
◆ 試驗機專業軟件可實現屈服強度(Fe)、抗拉強度(Rm)等數據和指標,計算機控制系統對試驗過程的控制和數據處理符合相應金屬材料與非金屬材料國家標準的要求、試驗報告多樣化如WORD、EXECEL等方式。
◆WDW-100JE微機控制腳手架扣件試驗機適用于各種金屬、非金屬及復合材料的力學性能指標的測試,完全符合國家相關標準的要求。該機廣泛應用于建筑建材、航空航天、機械制造、電線電纜、橡膠塑料、汽車制造、減震系統等行業的材料檢驗分析,是科研院校、大專院校、工礦企業、技術監督、商檢仲裁等部門的理想測試設備。
依據標準
1)GB/T2611-2007《試驗機通用技術要求》
2)GB/T228-2010《金屬材料室溫拉伸試驗方法》
3)GB/T16491-2008《電子萬能壓力試驗機》
4)JJF1103-2003《萬能試驗機計算機數據采集系統評定》
5)GB/T16825-1997《拉力試驗機檢驗》
6)GB15831-2006《鋼管腳手架扣件》
7)GB24910-2010《鋼板沖壓扣件》
9)JJG139-2014《拉力壓力和萬能試驗機》
重點描述
主機:該機采用雙空間門式結構,上空間拉伸,下空間壓縮、彎曲,橫梁無級升降。傳動部分采用圓弧同步齒形帶,絲杠副傳動,傳動平穩,噪音低。特別設計的同步齒形帶減速系統和精密滾珠絲杠副帶動試驗機的移動橫梁運動,實現了無間隙傳動。
電氣部分:電氣部分由伺服系統及顯示測量系統組成,本機采用伺服電機及伺服系統,通過調速系統控制伺服電機的正、反轉和速度的精度。負荷測量系統由一只高精度的負荷傳感器、測量放大器、A/D轉換器、穩壓電源等組成。位移測量系統由光電編碼器、脈寬整形電路、倍頻電路、計數電路組成。控制器直接插在計算機插槽內。所有的控制參數及測量結果均可以在屏幕上實時顯示。
限位開關:安裝在主機側面,作為安全措施,可防止中橫梁移動時發生碰撞而引起過載情況的出現: 撞壞傳感器、甚至撞彎橫梁。
數據處理:PC機系統經由控制器采集的數據一方面進行屏幕顯示,另一方面也在后臺實時保存在計算機內存中。試驗完成后,用戶進行數據處理后,處理結果可以打印記錄,也可以Access文件的形式實時保存在硬盤中,便于以后對數據進行再分析和網絡操作。
附具:配置:直角、旋轉扣件抗滑、抗破壞;扭轉剛度;對接扣件抗拉;底座抗壓各一套
電氣測控系統:
(1)采用交流伺服驅動器和交流伺服電機,性能穩定、可靠,具有過流、過壓、超速、過載等保護裝置。調速比可達1:100000。
(2)具有過載、過流、過壓、位移上下限位和緊急停止等保護功能。
(3)我公司聯合山東大學、濟南大學、浙江大學、連創的內置式控制器,保證了該試驗機可以實現試驗力、試樣變形和橫梁位移等參量的閉環控制,可實現等速試驗力、等速位移、等速應變、等速載荷循環、等速變形循環等試驗。各種控制模式之間可以平滑切換。
(4)試驗結束時,可手動或自動高速返回試驗初始位置。
(5)實現了真正意義上的物理調零、增益調整及試驗力測量的自動換檔、調零、標定和存盤,無任何模擬調節環節,控制電路高度集成化。
(6)電氣控制線路參照國際標準,符合國家試驗機電氣標準,抗干擾能力強,保證了控制器的穩定性,實驗數據準確性。
(7)具有網絡接口,可進行數據的傳輸、存儲、打印記錄和網絡傳輸打印,可與企業內部局域網或Internet網連接。
軟件主要功能特點描述:
該測控軟件用于微機控制電子萬能試驗機進行各種金屬及非金屬(如,人造板等)的試驗,按照相應標準完成實時測量與顯示、實時控制及數據處理、結果輸出等各種功能。
(1)分權限管理,不同級別的操作者有不同的操作權限,可操作的菜單等內容也不同,既使普通操作者操作簡單、方便、快捷,又有效的保護了系統;
(2)實時測量與顯示試驗力及峰值、位移、變形等各信號;實現了Win2000、WinXP等NT模式平臺下的實時采集與控制;并實現了精確定時,高速采樣;
(3)實現了負荷-變形,負荷-位移等多種試驗曲線的實時屏幕顯示,可隨時切換觀察,曲線的放大與縮小非常方便;
(4)具備試驗參數的計算機存儲、設定、加載等功能,調零、標定等操作都從軟件上進行,各參數可方便的進行存儲和調入,從而使一臺主機帶多個傳感器時可以方便的切換,而且沒有數目限制;
(5)支持多種控制方式,包括開環等速位移及等速力、等速應力等多種閉環控制方式;并在高級操作者調試閉環參數過程中給出標準參考曲線,從而使用戶實際觀察到各參數對閉環效果產生的影響。
(6)具有試驗過程控制模式智能設置專家系統,提供給專業用戶自動程控編程器。用戶可以根據實際需要,按照規則靈活組合多種控制方式及控制速度,編制適合自己需要的控制程序。測控軟件會自動按照用戶設置自動控制試驗過程。
(7)采用人機交互方式分析數據??勺詣佑嬎銖椥阅A?、屈服強度、規定非比例延伸強度等各種性能參數,也可人工干預分析過程,提高分析的準確度;也可以根據用戶提供的標準進行其他的數據處理。
(8)試驗數據以文本文件存貯,以方便用戶查詢,以及利用任何通用商業報表、字處理軟件對試驗數據進行再處理,同時方便聯網傳遞數據;
(9)可記錄、保存試驗全過程的數據曲線,并具有演示功能,實現試驗曲線再現。還可以進行曲線疊加對比,便于對比分析;
(10)可按用戶要求格式打印試驗報告。用戶可以自己選擇壓力試驗機報告輸出基本信息和試驗結果及試驗曲線的內容,滿足各種需要;
(11)實現了試驗力和變形的數字調零、自動標定,方便了操作,提高了機器的可靠性。各種參數系統設置以文件形式存貯,便于保存和恢復;
(12)可應用于Win98、Win2000、WinXP等多種操作系統。試驗過程控制、橫梁移動速度的改變、參數輸入等操作可全部用鍵盤、鼠標完成,使用方便快捷;
(13)可自動識別并支持外部點動控制,使裝夾試樣時很方便;
(14)具備過載保護自動停機功能,并可以自動判斷試樣斷裂,自動停機。
根據用戶要求不同,上述軟件功能會有增減或調整改變。
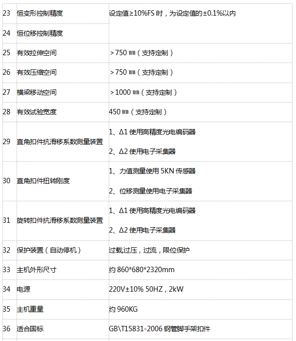
主要技術指標
該機完全按照國家標準GB/T16491—2008《電子萬能試驗機》、GB2611—2007《試驗機通用技術要求》、JJF1103-2003《萬能試驗機計算機數據采集系統評定》、GB/T16825—1997《拉力試驗機檢驗》制造。完全符合GB/T228-2010《金屬材料室溫拉伸試驗方法》、GB/T7314-2005《金屬材料室溫壓縮試驗方法》、GB/T14452-1993《金屬材料彎曲力學性能試驗方法》、GB/T15831-2006《鋼管腳手架扣件》、GB 24911-2010《碗扣式鋼管腳手架構件》等標準,同時可根據GB、ISO、JIS、ASTM、DIN及用戶提供多種標準進行試驗和數據處理。




系統配置
